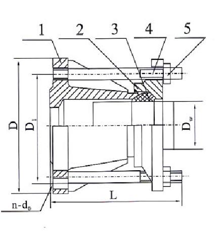
产品简介:
VSSJA法兰松套伸缩接头又称作法兰松套补偿接头、法兰松套伸缩节。法兰松套伸缩接头由本体、压盖、密封圈和紧固件组成,它采用和压盖松套伸缩接头相同的密封原理,连接方式一端为法兰连接,另一端为承插连接,适合阀门等设备与管道的连接。连接的同时能补偿管道的轴向位移及一些量的挠曲和偏心,从而保护阀门等设备。承插口同样适合与钢管、铸铁管、球墨铸铁管、PAC管、ABS管等连接。
安装说明:
VSSJA法兰松套伸缩接头安装在管道上后,拧紧螺母弹性密封圈,在螺母压盖的作用下依靠相互斜度,紧压在管子外圈密封和连接作用。当温度变化时管子能在接头中间自由的伸缩,当地基下沉,管子能偏斜,并确保密封无渗漏,从而起到自动补偿之目的。
产品主要数据:
|
公称通径DN |
管子插入长度Lo |
伸缩量8(mm) |
可挠量 |
偏心量(mm) |
|
65-250 |
65 |
±25 |
2 |
2 |
|
300-700 |
80 |
±32.5 |
3 |
|
|
800-3000 |
130 |
±65 |
4 |
|
|
3200-4000 |
140 |
±70 |
5 |
|
公称通径DN |
管子插入长度Lo |
伸缩量8(mm) |
可挠量 |
偏心量(mm) |
|
65-250 |
65 |
±25 |
2 |
2 |
|
300-700 |
80 |
±32.5 |
3 |
|
|
800-3000 |
130 |
±65 |
4 |
|
|
3200-4000 |
140 |
±70 |
5 |
产品结构图:











